freee活用講座vol.10 【残高が合わない…いつからズレてる?どうやったら一致するの?】

記事
法律・税務・士業全般

こんにちは!
freee専門の開業・経理サポーターの春崎なるみです。


確定申告も近づいてきて「freeeへ登録したのって合ってる?」「なんか表示されている残高が一致しなくて…」ってなっている方も多いのではないでしょうか?


そこで今回は私がサポートをする中で絶対確認いていることでもあり、確定申告前に必ず確認してほしいことBEST1である同期残高と登録残高の一致。

この2つの残高が一致していることでfreeeへの登録漏れを防ぐこともできますよ!

・同期残高と登録残高ってなに?
・残高が合わない場合はどうしたらいいの?
・いつからズレているかどうやって確認したらいいの?
・どうやったら一致するようになるの?
・簿記の知識ないけど、そんな私でも大丈夫なのかな?

そんなあなたにぜひ今回は同期残高と登録残高を日ごとに確認する方法から残高が一致しないよくある原因と解決方法までお話していくので、この記事を最後までしっかり読んで確定申告前までに必ず残高を一致させてくださいね〜



そもそも同期残高と登録残高ってなに?

同期残高→freeeと連携している口座の同期時点の通帳残高
登録残高→現時点でfreeeへ登録できている口座残高


下の画像のようにホーム画面にも表示はされていますが、ここに表示されているのは現時点のものとなります。
スクリーンショット 2025-01-31 1.18.32.png


確定申告前に必ず確認すべきなのは確定申告の計算期間の最終日である12/31時点の同期残高と登録残高になります。

この12/31時点の2つの残高が一致していればfreeeへ漏れがなく登録できているということなので非常に重要となります!



ということでさっそく

12/31時点の同期残高と登録残高を日ごとで確認する方法

実際のfreee画面のスクリーンショットを使って、ここからはご説明していきます。


1.ホーム画面から確認したい銀行口座をクリック

スクリーンショット 2025-01-30 22.29.14.png

2.タイムラインをクリック

スクリーンショット 2025-01-30 22.31.13.png


すると下の画像のように一覧で確認することができます◎
スクリーンショット 2025-01-30 22.33.16.png


左側→同期残高(同期時点の通帳残高)
右側→登録残高(freeeへ登録している残高)

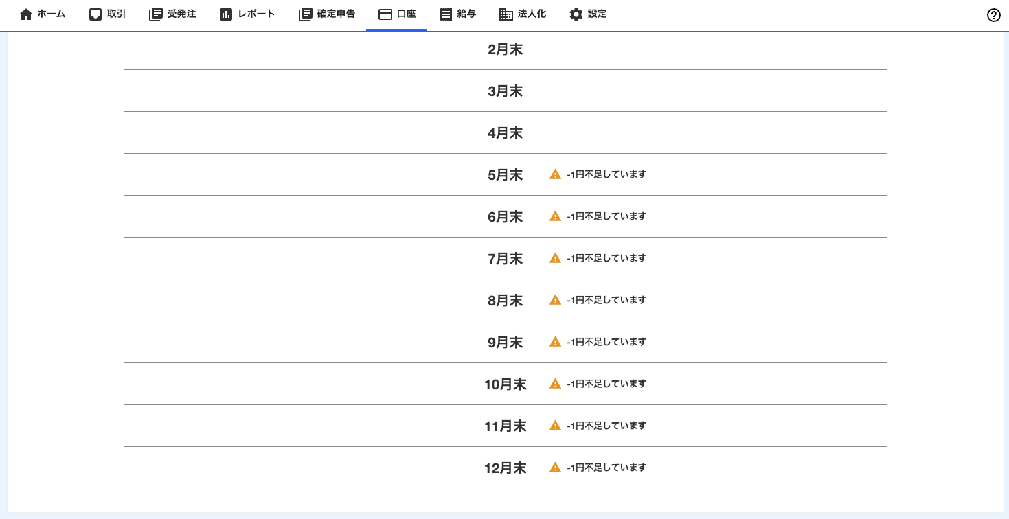
また下の画像のように注意マークが出ている場合はその月の月末時点の残高がズレていることを示しています。
スクリーンショット 2025-01-30 22.38.56.png


さらにその月のいつからズレているかを確認するには・・・
下の画像のように確認したい月をクリックすると、日ごとの2つの残高とズレている金額を確認することができます◎
スクリーンショット 2025-01-30 22.41.26.png


確認したい日をクリックすると、
その日の取引明細を確認することができるようになっており、登録できていない明細があれば「取引を登録する」をクリックすると取引登録画面へ飛べるようになっていますよ〜
スクリーンショット 2025-01-30 22.41.38.png

なのでこのタイムラインを活用することで、いつから残高がズレているのかが一目で確認することができる上に登録できていない取引明細の登録までスムーズにできちゃいます!



残高が一致しないよくある原因とは?

取引明細が登録できていないのが原因で残高がズレている場合には登録さえすれば解消されるかと思いますが、それ以外にも残高が一致しないよくある原因があるので今回はそちらもご紹介していきます。

❶無視を選択している取引がある
❷開始残高が設定されていない

この2つが考えられます。



freeeの無視って削除と何が違うの?

freeeでは取引を「無視」と「削除」という似たような意味合いに感じるものがあってよくわからなくて「この2つの違いってなに?」とよく質問いただくのですが、

無視→取引は消さずに残るけど残高の計算には含めない
削除→完全にfreee上から取引を消す
こういった違いがあります。


またfreeeと銀行口座を連携していると自動で取引明細が取り込まれてきますがそれを削除することはできず、削除を押しても登録待ちに戻るだけとなります。


なのでfreeeと口座を連携している場合には明細を「削除」をすることはできません!


そこで「無視」を利用したくなるのがfreeeと連携している口座から事業に関係のないプライベートな支払いや入金があった場合です。

このプライベートな支払いや入金があった場合に「無視」をしてしまうと残高の計算に含まれなくなってしますので12/31時点の同期残高と登録残高が一致しなくなってしまいます...


なので基本的に「無視」は使わず、プライベートな出金もしくは入金として登録をすることになります!


このプライベートな登録はこの確認した際のタイムラインから下の画像のように「プライベートな収入(もしくは支出)として登録する」というボタンを押すだけのワンクリックで登録が出来ちゃいます◎
スクリーンショット 2025-01-30 22.52.16.png



それでも残高が合わない場合に考えらる原因は、『開始残高が設定されていない』というのがよくあります。


開始残高の設定ってなに?

開始残高の設定とは計算期間の最初の日時点の通帳残高を設定することを言います。

なので今年度に開業した場合と今年度以前に開業している場合によって異なってきます。

【今年度以前に開業している場合】
確定申告の計算期間は1/1〜12/31なのでその最初の日である1/1時点の通帳残高を設定することになります。
【今年度に開業した場合】
基本的に今年度に開業した場合は開業日からの分をfreeeへ登録していくことになるので開業届に記載した開業日時点の通帳残高を設定することになります。




開始残高の設定方法はどうやってやるの?

ということでさっそく実際のfreee画面のスクリーンショットを使って、今年度開業した場合を例に開始残高の設定方法をここからはご説明していきます。

1.ホーム画面から「設定」の中の「開始残高の設定」をクリック

1.jpg
2.今期から事業を始めた方の「開始残高を設定」をクリック
2.jpg

3.残高を設定する銀行の「残高」を入力

3.jpg

4.「開始残高を設定」をクリック

4.jpg

これで設定完了です!



ここからはさらに

freeeがなんで簿記の知識がなくても簡単にできるという言われているのか?


ここをご紹介していきます!
(私はfreeeからお金をもらっているとかではないので、ただfreeeが簿記の知識がない方にも優しくて私が便利で好きなので勝手に語っていきます。笑)


簿記の知識がなくて不安なあなたはぜひ最後まで読んでみてくださいね〜
(会計の専門用語の解説とかも盛り込んでお話していくので、読み終わった頃には「簿記の知識なんてないし、専門用語の意味も読み方もわからない」というあなたの不安も減っているかもしれませんよ!笑)


ということで今回は事業に関係のないプライベートな取引の登録を例に簿記の観点から、そしてなぜfreeeが簿記の知識のない方にも優しくて簡単なのか?その理由をお話していきます。

ここまでのお話の中で事業に関係のないプライベートな取引も12/31時点の残高を一致させるために登録をする必要があるよといったものがありましたが、実はこれ会計的には【事業主借(じぎょうぬしかり)】もしくは【事業主貸(じぎょうぬしかし)】という勘定科目(かんじょうかもく)を使います。

《連携している口座から事業に関係のない支払いをした場合》
▶︎連携している口座は基本的に事業で使うという認識のため、事業側からすると事業主(あなた)にお金を貸していることになるので【事業主貸】
《連携している口座へ事業に関係のない入金があった場合》
▶︎連携している口座は基本的に事業で使うという認識のため、事業側からすると事業主(あなた)からお金を借りたことになるので【事業主借】

《連携していない口座から経費として支払った場合》
▶︎連携していない口座は基本的に事業には関係のないという認識のため、事業側からすると本来払わなければいけないお金を事業主(あなた)から借りたことになるので【事業主借】
《連携していない口座で売上を受け取った場合》
▶︎連携していない口座は基本的に事業には関係のないという認識のため、事業側からすると本来受け取るはずのお金を事業主(あなた)に貸したことになるので【事業主貸】


会計や簿記の知識のない方からすると、この【事業主借】や【事業主貸】って馴染みのない言葉かと思います。知らない専門的な言葉ばかりだと、いまいち頭に入ってこなくて「けっきょく何をしたらいいの?」や「どっちがどっちの時に使うんだっけ?」と混乱してしまいがちです。


だからこそfreeeにはそんな難しい言葉やルールを知らなくても取引を登録ができるように工夫されています。


freeeで取引を登録をする際にはこの「事業主借」や「事業主貸」という勘定科目は使わずに、次のような操作をすることで自動で「事業主借」もしくは「事業主貸」を適切に登録してくれるようになっています◎


❶freeeへ口座を連携している場合
自動で経理画面から▼をクリックすると、下の画像のように選択科目が出てきて【プライベートな入金として処理】をクリックすると自動で適切に登録してくれます!
スクリーンショット 2025-01-31 0.06.17.png


❷連携してない口座で取引を手動で登録する場合
口座をクリックすると、下の画像のように選択項目が出てきて【プライベート資金】を選択して取引を登録すると、自動で適切に登録してくれます!
スクリーンショット 2025-01-31 0.22.19.png



このように難しくてよくわからない勘定科目を使わなくても、事業に関係のない支払いや入金は【プライベートとして処理すること】や、事業に関係のないご自身のお金から経費を支払った場合などには【口座をプライベート資金とすること】これさえ覚えておけば「勘定科目ってどっちがどっちだっけ?」などと迷うこともなくなるし、専門的な知識がなかったとしても登録が可能となります◎



このようにfreeeには簿記の知識がない方にもわかりやすく、簡単に、さらには経理を効率化することで自由(freee)になって欲しいという熱い想いが詰まっていると私は感じています。


freeeに込められた熱い想いと同様に、
私はあなたに
・確定申告で悩んで調べて大切な時間を無駄にしてほしくない!

・経理が苦手で事業を辞めて欲しくない!

・悩んで調べる時間を自由時間に!もしくは事業発展の時間に使って欲しい!

・毎年訪れる確定申告という不安や恐怖、焦りから解放されて自由に幸せに生きていって欲しい!
そう心の底から強く本気で思っています。

どうすればあなたから確定申告の不安を取り除けるのか?

その答えはやはり、
①私の持っている知識をインストールしてもらう
②わからない時や行き詰った時はいつでも気軽に聞ける環境を用意する
この2つだと考えました。


私はあなたにあなた自身で確定申告ができるようになって頂くためにも、このブログのように操作手順や設定方法だけでなく、会計・簿記の知識をサポート内でも惜しみなくお話しています。

あなたに寄り添いたった1人のサポーターとして、誠心誠意サポート致します。


▼いつでも気軽に聞ける環境をあなたに!▼
ちょっとでも気になる方はぜひご覧くださいね~

▼確定申告の提出までを7STEPでまとめた手順書▼
ココナラ(マニュアル).png


おわりに

ここまでお読みいただき、本当にありがとうございました。

「freee活用講座」ではあなたの「この場合はどうしたらいいの?」「私にあてはまるケースが見当たらなくて…」といったお困りごとを少しでも解消できるよう、freeeに関するお役立ち情報を発信していきます!

もし何か知りたいことや聞いてみたいことなどありましたら、お気軽にDMよりリクエストをお送り頂けると嬉しいです。出来る限り頂いたリクエストにお応えして記事にしていきます。

ではまた!春崎なるみでした~
サービス数40万件のスキルマーケット、あなたにぴったりのサービスを探す