【稼がせちゃう企画】2020年10月度の代行結果

記事
ビジネス・マーケティング

稼がせちゃう企画とは?

1.稼げるLINEを作成代行します。
2.そのLINEへの集客を代行します。

だからあなたは何もしなくても勝手に稼げてしまう企画です。

しかも【完全無料】です。

ココナラでは、自媒体への誘導が不可のため、代行結果のみ掲載しています。

集客結果

友だち追加:197人増加
ターゲットリーチ:161人増加
ブロック:33人増加

2020-11-01_15h25_43.png

収益結果

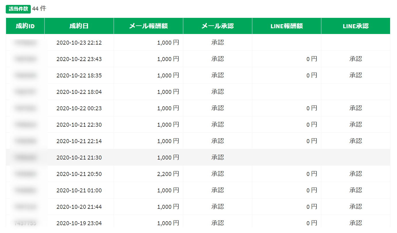
案件1:51,800円(44件)
案件2:23,000円(21件)
合計:74,800円(65件)

2020-11-01_15h19_47.png

2020-11-01_15h20_18.png

2020-11-01_15h20_41.png

まとめ

集客数:197リスト
成約数:65件
収益額:74800円
成約率:約33%
1リストあたりの収益額:379円

1リストあたり300円以上の利益がでているので、有料集客を採用できます。

集客を自動化できれば、めっちゃ楽になります。

そのためにも、まずは「稼げる仕組み」を作ってください。

作れない方は「稼がせちゃう企画」にご参加ください。

無料です。
サービス数40万件のスキルマーケット、あなたにぴったりのサービスを探す ココナラコンテンツマーケット ノウハウ記事・テンプレート・デザイン素材はこちら